LZB-( )W(B)(F)玻璃转子流量计

该系列流量计用于检测和调节微小流量,结构轻巧,分为带调节阀( WB 型)和不带调节阀( W 型)两种。还可根据客户使用情况制造耐腐型( WBF 和 WF 型)。连接方式分为软管连接和螺纹连接。
1. 型号规格及主要技术参数
公称
通径 DN
mm |
型号 |
范围度 |
测量范围 |
准确度等级 |
锥管长度 mm |
允许被测流体 |
水 (20 ℃ ) |
空气 (1.013 × 10 5 Pa20 ℃ ) |
温度 |
压力
MPa |
3 |
LZB-3W(F)
LZB-3WB(F) |
10:1 |
0.4 ~ 4l / min
0.6 ~ 6ml / min
1 ~ 10ml / min
2.5 ~ 25ml / min
4 ~ 40ml / min
6 ~ 60ml / min
10 ~ 100ml / min |
6 ~ 60ml / min
10 ~ 100ml / min
16 ~ 160ml / min
0.03 ~ 0.3L / min
0.06 ~ 0.6L / min
0.1 ~ 1L / min
0.15 ~ 1.5L / min |
4 级
耐腐型为 6 级
|
100 |
-20 ~ 120 ℃ |
≤ 0.2 |
4 |
LZB-4W(F)
LZB-4WB(F) |
16 ~ 160ml / min
25 ~ 250ml / min
40 ~ 400ml / min |
0.3 ~ 3L / min
0.6 ~ 6L / min
0.7 ~ 7L / min |
4 级
耐腐型为 6 级 |
6 |
LZB-6W(F)
LZB-6WB(F) |
40 ~ 400ml / min
60 ~ 600ml / min
0.1 ~ 1L / min |
0.7 ~ 7L / min
1 ~ 10L / min
1.5 ~ 15L / min |
2.5 级
耐腐型为 4 级 |
10 |
LZB-10W(F)
LZB-10WB(F) |
0.1 ~ 1L / min
0.16 ~ 1.6L / min |
3 ~ 30L / min
5 ~ 45L / min |
100 |
2. 外形及安装连接尺寸 :
流量计有带调节阀 (WB 型 ) 和不带调节阀 (W 型 ) 二种形式 , 其外形图见图一、图二,安装连接尺寸见表 1
图一

图二

表 1
单位: mm
型号 |
A |
B |
C |
D |
M |
E* |
软管接嘴
N |
金属管接嘴 |
设备安装孔 |
外螺纹 |
G |
h |
LZB-3W(F)
LZB-3WB(F) |
23 |
136 |
52 |
22.5 |
116 |
< 74 |
Φ 8 |
M10*1 |
Φ 6.2 |
SR4 |
Φ 11 |
LZB-4W(F)
LZB-4WB(F) |
LZB-6W(F)
LZB-6WB(F) |
LZB-10W(F)
LZB-10WB(F) |
56 |
26.5 |
< 78 |
Φ 10 |
M12*1 |
Φ 8.2 |
SR5 |
注: *WB 专有
3. 流量计接触测量流体的零部件材质
|
浮子 |
基座 |
针阀 |
止档 |
O 形圈及密封垫片 |
普通型 |
不锈钢或玛瑙 |
黄铜镀铬 |
不锈钢 |
尼龙 |
橡胶 |
耐腐性 |
不锈钢 |
PTFE |
氟橡胶 |
LZB/LZJ (DN4-10 )玻璃转子流量计

该系列流量计具有结构简单,牢固,压力损失小等特点。耐腐型采用不锈钢材料或衬氟塑料,密封件可选氟橡胶或聚四氟乙烯等,对绝大部分常用酸、碱、氧化剂、有机溶剂等有较强的耐腐蚀性。 DN4-10 采用软管连接,亦可根据客户需要设计、制造特殊安装方式。
1. 型号规格及主要参数见下表 单位: mm
公称通径( mm ) |
型号 |
测量范围 |
准确度等级 |
允许被测流体状况 |
水 20 ℃ |
空气 20 ℃ 101325Pa |
温度(℃) |
压力等级( MPa ) |
4 |
LZB-4
LZB-4F |
1 ~ 10L/h
1.6 ~ 16L/h
2.5 ~ 25L/h |
16 ~ 160L/h
25 ~ 250L/h
40 ~ 400L/h |
4 级
耐腐型为 6 级 |
- 20 ~ 120 |
≤ 1 |
6 |
LZJ-6
LZJ-6F |
2.5 ~ 25L/h
4 ~ 40L/h
6 ~ 60L/h |
40 ~ 400L/h
60 ~ 600L/h
100 ~ 1000L/h |
2.5 级
耐腐型为 4 级 |
10 |
LZJ-10
LZJ-10F |
6 ~ 60L/h
10 ~ 100L/h
16 ~ 160L/h |
100 ~ 1000L/h
160 ~ 1600L/h
250 ~ 2500L/h |
2. 外形、安装连接方式及连接尺寸如下:
单位: mm

3. 流量计接触测量流体的零部件材质
零件名称 |
普通型材质 |
耐腐型材质 |
针阀 |
不锈钢 |
针阀座 |
黄铜镀铬 |
不锈钢 |
下基座 |
黄铜镀铬 |
不锈钢 |
止档 |
PTFE |
顶紧器 |
黄铜镀铬 |
不锈钢 |
闷头 |
黄铜镀铬 |
不锈钢 |
上基座 |
黄铜镀铬 |
不锈钢 |
密封片 |
橡胶 |
氟橡胶 |
锥管 |
硼硅酸盐玻璃 |
浮子 |
不锈钢或玛瑙 |
接嘴 |
黄铜镀铬 |
不锈钢 |
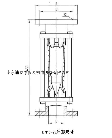
LZB/LZJ (DN15-100)拉杆式流量计

拉杆式流量计具有结构简单,牢固,压力损失小等特点。耐腐型采用不锈钢材料或衬氟塑料,密封件可选氟橡胶或聚四氟乙烯等,对绝大部分常用酸、碱、氧化剂、有机溶剂等有较强的耐腐蚀性。 DN4-10 采用软管连接,亦可根据客户需要设计、制造特殊安装方式。
1. 型号规格及主要技术参数
公称通径( mm ) |
型号 |
测量范围 |
准确度等级 |
允许被测流体状况 |
水 20 ℃ |
空气 20 ℃ 101325Pa |
温度(℃) |
压力等级( MPa ) |
15 |
LZB-15
LZB-15F |
10 ~ 100L/h
16 ~ 160L/h
25 ~ 250L/h
40 ~ 400L/h
60 ~ 600L/h* |
0.25 ~ 2.5m3/h
0.4 ~ 4m3/h
0.6 ~ 6m3/h
1.2 ~ 12m3/h
2 ~ 20m3/h* |
2.5 级
耐腐型为 4 级 |
-20 ~ 120 |
≤ 0.6 |
25 |
LZB-25
LZB-25F |
40 ~ 400L/h
60 ~ 600L/h
100 ~ 1000L/h
160 ~ 1600L/h
250 ~ 2500L/h* |
1 ~ 10m3/h
1.6 ~ 16m3/h
2.5 ~ 25m3/h
5 ~ 50m3/h
6 ~ 60m3/h* |
1.5 级
耐腐型为 4 级 |
40 |
LZB-40
LZB-40F |
160 ~ 1600L/h
250 ~ 2500L/h
400 ~ 4000L/h* |
4 ~ 40m3/h
6 ~ 60m3/h
12 ~ 120m3/h* |
50 |
LZB-50
LZB-50F |
400 ~ 4000L/h
600 ~ 6000L/h
1000 ~ 10000L/h* |
10 ~ 100m3/h
16 ~ 160m3/h
30 ~ 300m3/h* |
80 |
LZB-80
LZB-80F |
1000 ~ 10000L/h
1600 ~ 16000L/h
2500 ~ 25000L/h
3600 ~ 36000L/h* |
25 ~ 250m3/h
40 ~ 400m3/h
60 ~ 600m3/h
100 ~ 1000m3/h* |
≤ 0.4 |
100 |
LZB-100
LZB-100F |
5 ~ 25m3/h
8 ~ 40m3/h
20 ~ 60m3/h
40 ~ 100m3/h* |
120 ~ 600m3/h
200 ~ 1000m3/h
600 ~ 1600m3/h
1200 ~ 3000m3/h* |
2. 外形及安装连接尺寸


公称通径( mm ) |
A |
B |
C |
D |
15 |
Φ 95 |
Φ 65 |
4- Φ 14 |
Φ 15 |
25 |
Φ 115 |
Φ 85 |
Φ 25 |
40 |
Φ 145 |
Φ 110 |
4- Φ 18 |
Φ 40 |
50 |
Φ 160 |
Φ 125 |
Φ 50 |
80 |
Φ 185 |
Φ 150 |
Φ 80 |
100 |
Φ 205 |
Φ 170 |
Φ 100 |
注:法兰标准 GB/T9119-2000, 也可按照用户要求定做。
3. 流量计接触测量流体的零部件材质
零件名称 |
普通型材质 |
耐腐型材质 |
密封片 |
橡胶 |
氟橡胶 |
锥管 |
硼硅酸盐玻璃 |
浮子 |
不锈钢、铝、 PTFE |
外包氟塑料 |
止档 |
尼龙 |
PTFE |
基座 |
铸铁涂防腐漆 |
铸铁内衬氟塑料 |