全部分类
全部分类
×
常州双环牌LZB-25玻璃转子流量计 法兰浮子流量计 气体液体流量计
×
收藏

常州双环牌LZB-25玻璃转子流量计 法兰浮子流量计 气体液体流量计

原价
250.00
售价
250.00
0销量
手机购买

加载中...

  • 流量计类型: 浮子流量计
可选规格
  • 流量计类型: 浮子流量计
  • LZB-( )W(B)(F)玻璃转子流量计

    玻璃转子流量计

     

        该系列流量计用于检测和调节微小流量,结构轻巧,分为带调节阀( WB 型)和不带调节阀( W 型)两种。还可根据客户使用情况制造耐腐型( WBF 和 WF 型)。连接方式分为软管连接和螺纹连接。

    1. 型号规格及主要技术参数

    公称

    通径 DN  

    mm

    型号

    范围度

    测量范围

    准确度等级

    锥管长度 mm

    允许被测流体

    水 (20 ℃ )

    空气  (1.013 × 10 5 Pa20 ℃ )

    温度

    压力

    MPa

    3

    LZB-3W(F)

    LZB-3WB(F)

    10:1

    0.4 ~ 4l min   

    0.6 ~ 6ml min

    1 ~ 10ml min

    2.5 ~ 25ml min

    4 ~ 40ml min

      6 ~ 60ml min

    10 ~ 100ml min

    6 ~ 60ml min

    10 ~ 100ml min

    16 ~ 160ml min

    0.03 ~ 0.3L min

    0.06 ~ 0.6L min

    0.1 ~ 1L min

    0.15 ~ 1.5L min

     

    4 级

    耐腐型为 6 级  

     

    100

    -20 ~ 120 ℃

    ≤ 0.2

    4

    LZB-4W(F)

    LZB-4WB(F)

    16 ~ 160ml min

    25 ~ 250ml min

    40 ~ 400ml min

    0.3 ~ 3L min

    0.6 ~ 6L min

    0.7 ~ 7L min

    4 级

    耐腐型为 6 级  

    6

    LZB-6W(F)

    LZB-6WB(F)

    40 ~ 400ml min

    60 ~ 600ml min

    0.1 ~ 1L min

    0.7 ~ 7L min

    1 ~ 10L min

    1.5 ~ 15L min

     

    2.5 级

    耐腐型为 4 级

    10

    LZB-10W(F)

    LZB-10WB(F)

    0.1 ~ 1L min

    0.16 ~ 1.6L min

    3 ~ 30L min

    5 ~ 45L min

    100

    2. 外形及安装连接尺寸 :

       流量计有带调节阀 (WB 型 ) 和不带调节阀 (W 型 ) 二种形式 , 其外形图见图一、图二,安装连接尺寸见表 1

    图一

    玻璃转子流量计

    图二

    玻璃转子流量计

    表 1 

      单位: mm

    型号

    A

    B

    C

    D

    M

    E*

    软管接嘴

    N

    金属管接嘴

    设备安装孔

    外螺纹

    G

    h

    LZB-3W(F)

    LZB-3WB(F)

    23

    136

    52

    22.5

    116

    < 74

    Φ 8

    M10*1

    Φ 6.2

    SR4

    Φ 11

    LZB-4W(F)

    LZB-4WB(F)

    LZB-6W(F)

    LZB-6WB(F)

    LZB-10W(F)

    LZB-10WB(F)

    56

    26.5

    < 78

    Φ 10

    M12*1

    Φ 8.2

    SR5

    注: *WB 专有

    3. 流量计接触测量流体的零部件材质


    浮子

    基座

    针阀

    止档

    O 形圈及密封垫片

    普通型

    不锈钢或玛瑙

    黄铜镀铬

    不锈钢

    尼龙

    橡胶

    耐腐性

    不锈钢

    PTFE

    氟橡胶

     

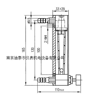
    LZB/LZJ (DN4-10 )玻璃转子流量计

    玻璃转子流量计

    该系列流量计具有结构简单,牢固,压力损失小等特点。耐腐型采用不锈钢材料或衬氟塑料,密封件可选氟橡胶或聚四氟乙烯等,对绝大部分常用酸、碱、氧化剂、有机溶剂等有较强的耐腐蚀性。 DN4-10 采用软管连接,亦可根据客户需要设计、制造特殊安装方式。

    1. 型号规格及主要参数见下表  单位: mm

    公称通径( mm )

    型号

    测量范围

    准确度等级

    允许被测流体状况

    水 20 ℃

    空气 20 ℃ 101325Pa

    温度(℃)

    压力等级( MPa )

    4

    LZB-4

    LZB-4F

    1 ~ 10L/h

    1.6 ~ 16L/h

    2.5 ~ 25L/h

    16 ~ 160L/h

    25 ~ 250L/h

    40 ~ 400L/h

    4 级

    耐腐型为 6 级

    - 20 ~ 120

    ≤ 1

    6

    LZJ-6

    LZJ-6F

    2.5 ~ 25L/h

    4 ~ 40L/h

    6 ~ 60L/h

    40 ~ 400L/h

    60 ~ 600L/h

    100 ~ 1000L/h

    2.5 级

    耐腐型为 4 级

    10

    LZJ-10

    LZJ-10F

    6 ~ 60L/h

    10 ~ 100L/h

    16 ~ 160L/h

    100 ~ 1000L/h

    160 ~ 1600L/h

    250 ~ 2500L/h

    2. 外形、安装连接方式及连接尺寸如下:   

    单位: mm

    玻璃转子流量计

    3. 流量计接触测量流体的零部件材质

    零件名称

    普通型材质

    耐腐型材质

    针阀

    不锈钢

    针阀座

    黄铜镀铬

    不锈钢

    下基座

    黄铜镀铬

    不锈钢

    止档

    PTFE

    顶紧器

    黄铜镀铬

    不锈钢

    闷头

    黄铜镀铬

    不锈钢

    上基座

    黄铜镀铬

    不锈钢

    密封片

    橡胶

    氟橡胶

    锥管

    硼硅酸盐玻璃

    浮子

    不锈钢或玛瑙

    接嘴

    黄铜镀铬

    不锈钢

     

    LZB/LZJ (DN15-100)拉杆式流量计

    玻璃转子流量计

    拉杆式流量计具有结构简单,牢固,压力损失小等特点。耐腐型采用不锈钢材料或衬氟塑料,密封件可选氟橡胶或聚四氟乙烯等,对绝大部分常用酸、碱、氧化剂、有机溶剂等有较强的耐腐蚀性。 DN4-10 采用软管连接,亦可根据客户需要设计、制造特殊安装方式。


    1. 型号规格及主要技术参数

    公称通径( mm )

    型号

    测量范围

    准确度等级

    允许被测流体状况

    水 20 ℃

    空气 20 ℃ 101325Pa

    温度(℃)

    压力等级( MPa )

    15

    LZB-15

    LZB-15F

    10 ~ 100L/h

    16 ~ 160L/h

    25 ~ 250L/h

    40 ~ 400L/h

    60 ~ 600L/h*

    0.25 ~ 2.5m3/h

    0.4 ~ 4m3/h

    0.6 ~ 6m3/h

    1.2 ~ 12m3/h

    2 ~ 20m3/h*

    2.5 级

    耐腐型为 4 级

    -20 ~ 120

    ≤ 0.6

    25

    LZB-25

    LZB-25F

    40 ~ 400L/h

    60 ~ 600L/h

    100 ~ 1000L/h

    160 ~ 1600L/h

    250 ~ 2500L/h*

    1 ~ 10m3/h

    1.6 ~ 16m3/h

    2.5 ~ 25m3/h

    5 ~ 50m3/h

    6 ~ 60m3/h*

    1.5 级

    耐腐型为 4 级

    40

    LZB-40

    LZB-40F

    160 ~ 1600L/h

    250 ~ 2500L/h

    400 ~ 4000L/h*

    4 ~ 40m3/h

    6 ~ 60m3/h

    12 ~ 120m3/h*

    50

    LZB-50

    LZB-50F

    400 ~ 4000L/h

    600 ~ 6000L/h

    1000 ~ 10000L/h*

    10 ~ 100m3/h

    16 ~ 160m3/h

    30 ~ 300m3/h*

    80

    LZB-80

    LZB-80F

    1000 ~ 10000L/h

    1600 ~ 16000L/h

    2500 ~ 25000L/h

    3600 ~ 36000L/h*

    25 ~ 250m3/h

    40 ~ 400m3/h

    60 ~ 600m3/h

    100 ~ 1000m3/h*

    ≤ 0.4

    100

    LZB-100

    LZB-100F

    5 ~ 25m3/h

    8 ~ 40m3/h

    20 ~ 60m3/h

    40 ~ 100m3/h*

    120 ~ 600m3/h

    200 ~ 1000m3/h

    600 ~ 1600m3/h

    1200 ~ 3000m3/h*

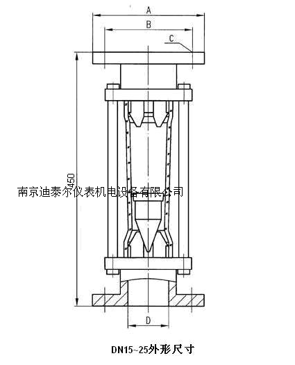
    2. 外形及安装连接尺寸

    玻璃转子流量计

    玻璃转子流量计

    公称通径( mm )

    A

    B

    C

    D

    15

    Φ 95

    Φ 65

    4- Φ 14

    Φ 15

    25

    Φ 115

    Φ 85

    Φ 25

    40

    Φ 145

    Φ 110

    4- Φ 18

    Φ 40

    50

    Φ 160

    Φ 125

    Φ 50

    80

    Φ 185

    Φ 150

    Φ 80

    100

    Φ 205

    Φ 170

    Φ 100

    注:法兰标准 GB/T9119-2000, 也可按照用户要求定做。

    3. 流量计接触测量流体的零部件材质

    零件名称

    普通型材质

    耐腐型材质

    密封片

    橡胶

    氟橡胶

    锥管

    硼硅酸盐玻璃

    浮子

    不锈钢、铝、 PTFE

    外包氟塑料

    止档

    尼龙

    PTFE

    基座

    铸铁涂防腐漆

    铸铁内衬氟塑料


    没有评价数据

    温馨提示 ×
    商品已成功加入购物车!
    购物车共 0 件商品
    去购物车结算
    南京迪泰尔仪表机电设备有限公司版权所有 声明:网站常规报价 仅供参考 非标产品以实际为准。